本文首发于微信公众号「声学号角」
01
—
传声器简介
传声器(Microphone),一般工业界音译为“麦克风”,俗称“咪头”。学术界较为正式的名称还是传声器,因为表征了其功能。

传声器和扬声器一样,涉及到不同能量的转换,属于声频系统中比较薄弱的环节。

放大器、调音台、信号处理设备等也是声频设备中的重要环节,技术上也很复杂,但它们属于电信号的输入、放大、处理、输出,不涉及不同性质能量的改变。随着电子技术、计算机技术和DSP技术的发展,这些设备的性能和技术指标都快速提高。

传声器的主要电声性能技术指标包括:
- 灵敏度(Sensitivity)
表示传声器的声-电转换效率,一般以1000Hz测得的开路输出电压/受到的声压,单位为V/Pa。传声器灵敏度高,一般可以获得较高的信噪比。
- 频率响应(Frequency Response)
指在恒定声压情况下,轴向0°不同信号频率测得的输出电压。不同类型,和不同设计的传声器频响曲线走势是不一样的。
- 指向性(Direction)
指声波以θ角入射时,传声器灵敏度/轴向0°入射灵敏度。
常见的指向性有:无指向(或称全指向),8字型,心型,超心型,锐心型,超指向等。
不同场合需要使用不同的指向性传声器。

- 输出阻抗(Output Impedance)
即传声器的交流内阻抗。通常以1000Hz,声压1Pa来测试得到。
- 动态范围(Dynamic Range)
指传声器在谐波失真达到某一规格值(比如0.5%)时,所承受的最大声压级与传声器的噪声中间的差值(dB)。
- 瞬态响应(Transient Response)
指传声器的输出电压随输入声压急剧变化的能力,不同振膜和不同原理器件的响应是有差异的。
02
—
按换能原理分类的传声器
动圈式传声器 Dynamic Microphone
和动圈扬声器类似,示意图如下:

优点是使用简单,可靠,不需要前置放大器和极化电压,但瞬态响应特性和高频特性不如电容式传声器。
带式传声器 Ribbon Microphone
可以看成动圈传声器变形,带状导体即是振膜又是音圈。一般采用铝合金带状振膜,置于磁场之中。

声波驱动振膜振动,从而切割磁感线,在振膜两侧产生感生电动势,进而产生电流,将声音转换为对应的电信号。效率一般较低。
- 电容式传声器 Capacitor Microphone,Condenser Microphone/静电传声器 Electrostatic Microphone
其拾音头(极头,Cartridge)部分是一个平板电容器。其中一个极称为背极,固定不动;另一个极是振膜,一般由薄金属膜或金属化塑料薄膜构成。

声波驱动振膜振动,改变两极板之间的距离,使得电容量发生变化,导致电回路中的电流变化,从而产生一个交流变化的输出电压。也就达到了将声能转换为电能的过程。
由于极头的电容C很小,输出阻抗很高,所以一般需要前置放大器电路,形成阻抗转换器,将高阻抗转变为低阻抗输出。
电容传声器振膜轻薄,灵敏度高,频率响应平坦,瞬态好;缺点是工艺复杂,牢靠性差,需要较好的防震防摔,且需要较高的直流偏置电压,所以也存在待机功耗。
- 驻极体电容式传声器 Electret condenser microphone
某些电介质经过高温高压处理,能在两个表面分别储存正负电荷,这种电介质被称为驻极体。和永磁体有点类似。
目前常用驻极体材料有聚丙烯(PP)、聚全氟乙丙烯(FEP)等。聚丙烯(PP)有较高的电荷密度,但耐潮性差。聚全氟乙丙烯(FEP)具有较高电荷密度,且稳定性好,耐高温,所以被广泛应用于电声器件中。

振膜式驻极体传声器

背极式驻极体传声器
驻极体传声器和常规电容式传声器工作原理类似,只是不需要外加极化电压,而是由驻极体膜片或带驻极体薄层的极板表面电位来代替。
- 炭粒式传声器 Carbon Microphone
声压作用在振膜上,使得炭粒受到的压力发生变化,从而导致接触电阻变化,使得两端输出电压改变。

炭粒式传声器具有高输出,但非线性很强,即失真很高,且噪声大,稳定性不好。目前仅用于很早之前的电话机上。
- 压电式传声器 Piezoelectric Microphone
利用压电效应直接将声传递给膜片/压电片的压力转换为电能。

- 激光传声器
利用激光拾取膜片的振动,从而转换为电信号。
- 硅传声器 Silicon Microphone / 微机电系统传声器 MEMS (Micro-Electro-Mechanical System) Microphone
一般是指用硅基微机械加工方式制作的微型电容式传声器,尺寸小,方便与IC集成。

也可以制作成压阻式、压电式、场效应管(FET)式。目前正在快速发展中。
03
—
按声学原理和指向性分类的传声器
- 压强式传声器,全指向
结构的示意图如下所示。由固定在一个密封腔+膜片构成。即只膜片一面接收声波,另一面是封闭的。
一般腔体上会增加一个小的泄漏孔+声学网布,用以均衡内外的大气压强,使得膜片两侧的气压相等。

膜片受力F=p*S,其中p是膜片处声压,S是膜片有效振动面积。
这种传声器实际就是一个压力计,只与声压的大小有关,而与声音方向无关。所以属于全指向性传声器,或者说球形指向性传声器。
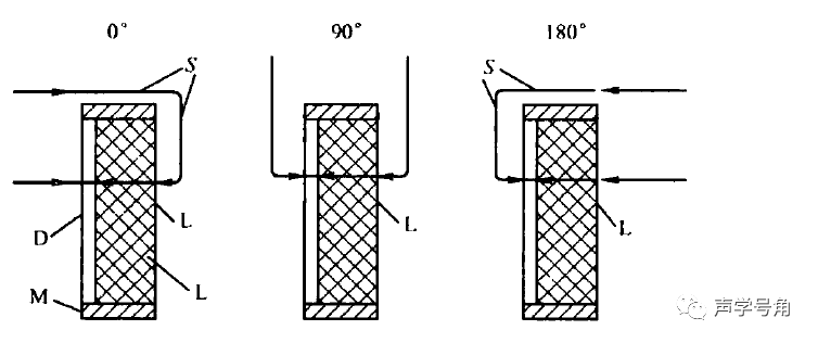
- 压差式传声器,双指向,8字型
结构的示意图如下所示。膜片两侧都有进声孔。

膜片受力F=(p1-p2)*S。声波达到膜片前后的通道路径长度不同,从而存在声路差、时间差、相位差,所以会导致前后的声压差。
当声波从90°方向入射时,前后声压幅度相等,膜片基本不会动,所以接收到的声压接近0。而正前方和正后方入射引起的前后声压差最大。
压差式传声器的方向性和声波入射角的余弦成正比。其极坐标响应为8字形,或称双指向性传声器。但因为其存在前后声压抵消,所以灵敏度会降低。

- 复合式传声器,单指向,或多指向
复合式传声器由压强式+压差式两者复合而成。复合方式可分为声复合和电复合。
声复合指通过压强式+压差式的声学结构进行复合


- 电复合指将压强式+压差式的电信号进行复合
通过声学结构,或电路结构的变化,可以获得从全指向到单指向(心型、超心型、锐心型)等不同的指向性,适用于不同的拾音场景。
