本文首发于微信公众号「声学号角」
01
—
KEF LS50 Meta音箱
英国音箱品牌KEF最近同时推出两种新的LS50系列的产品。其中包括LS50 Meta,更新了新的Uni-Q同轴扬声器单元。新的扬声器单元后面新增了一个声学超构材料吸收器。新的系列命名也是来源于超构材料的英文名词Metamaterial。
这款新型KEF Uni-Q扬声器应该是目前市面上第一个应用声学超构材料的消费级音箱产品。之前就有关注这个技术,没想到KEF居然真的整合到实际量产产品中了。


之前的文章也有介绍过KEF LS50系列的一些技术。
这个声学超构材料吸收器是与香港的Acoustic Metamaterials Group(AMG)公司合作开发的,利用了这家公司的超材料吸收技术(MAT)。号称这种合成材料具有超强的吸收能力,可以吸收99%的有害声音,在这种情况下,将其应用于全新的声学迷宫中,并进行了调整。可以吸收从后部发出的有害频率,减少不必要的因为谐振而产生的失真。

新型超构材料吸收技术(MAT)迷宫的详细透视图,多个通道是经过精心设计和优化的


动态演示图

应用了MAT吸收器迷宫的新型KEF Uni-Q扬声器的详细视图

02
—
声学超构材料吸收器原理解析
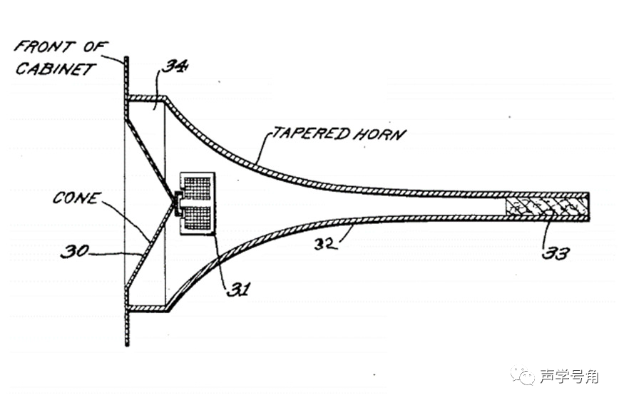
下面两个图是早期在中音/高音背面采用倒锥形号角/管,以最大程度地吸收向后的反射。


采用常规的声超构材料吸声,一般是利用亥姆霍兹谐振或者1/4波长管的谐振,但存在有效频带过窄的问题。
其中一种有效拓宽作用频带的方式是设计多个谐振器,然后让作用的频带相互叠加,这个可以提供一个比较宽的整体吸声。
这种提供宽带的连续吸声超构材料的阻抗为:

其中Zmeta是其声表面阻抗,Z0是特征阻抗,f是频率,fc是低频截止频率
其吸声系数A为:

其吸声特性和无限长号角对比如下图所示,是更优的。而且实际工程应用不可能做到无限长号角。

最初的设计如下图,是一个柱装的超构材料,低频截止频率fc为312Hz。

吸声系数:蓝色-超构材料,橙色-吸音棉,红色-整体综合结果
但在实际Uni-Q同轴扬声器应用时,会限制低音和高音扬声器的磁路设计,而且超构材料的壁面会减小高音背腔的有效容积。所以考虑做成一个扁状的超构材料放在低音磁路后面。位置如下图所示。


两种形态的超构材料3d图
扁状超构材料做了双层,其有效低频截至频率为620Hz

每个通道的声压响应

620Hz的声压分布情况
通道数越多,其吸声的响应会越平滑。但同样总截面积情况下,管道非常多的时候,说明每根管道会非常细,这个时候热粘滞阻尼会变大。

从仿真来看,30根管道是比较折中的方案。

实际的Demo,总厚度11mm

仿真和实测的结果吻合得非常好

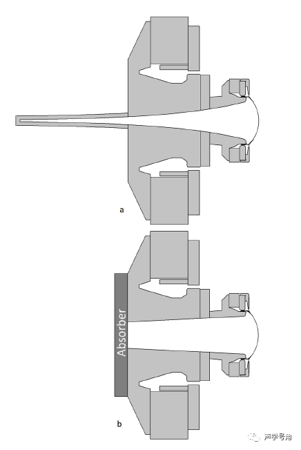
倒指数型号角,和锥形导管+扁状超构材料

填充了聚酯纤维的吸声响应对比
对这个声学超构材料吸收器的仿真结果直观展示:

