本文首发于微信公众号「声学号角」
01
—
常规线阵波导&号角
常规线阵音箱上使用的波导和号角是分离开的。方便单独设计。声波从振膜发出,通过相位塞出来,然后经过波导管的通道形成平面波,最后通过号角控制指向性辐射出去。
下图是我之前设计的一款线阵上用的常规波导+号角

如果可以缩短声传播路径,一般来说失真也会降低,设计更加紧凑。
02
—
波导号角一体化
以马田音响公司Martin Audio为代表的。这种方式类似号角的阵列。或者说一侧使用号角的方法来设计,一侧使用波导的方法来设计。

其他的变种形式:



上述图片最后两种是我个人设计的。
模型设计和模具开发由于需要同时考虑号角和波导两个因素,所以会比常规设计要复杂。
03
—
相位塞和波导管一体化
JBL新一代线阵列VTX A12上用到的压缩高音,采用了相位塞和波导管一体化的设计。
我按照其原理,大致做了个模型,非实际产品。当然不太精准。进行了仿真。直到20kHz都能基本保证出口近似平面波。 从结构上来说,整体高度更短,更精简,部件更少,装配误差的影响更小。 从声学性能上来说,其声学路径也更短更直,不那么扭曲,失真也相对会更低。 生产成本也更低。 唯一缺点就是设计成本会更高,因为不能通用。不同尺寸的系统这个一体化的相位塞波导都需要重新设计。
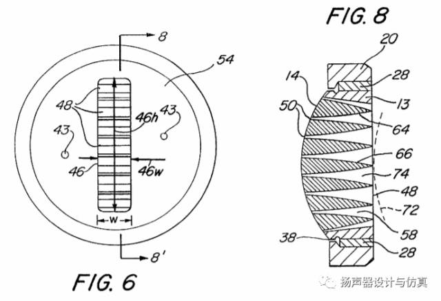
花瓣形相位塞


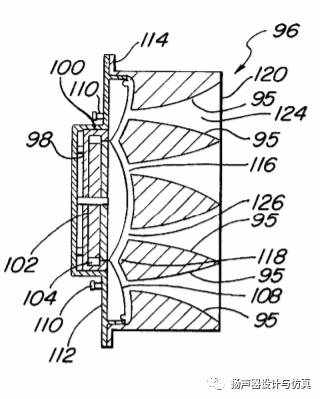
另一种专利技术



上面是我的个人微信,加我的时候请表明身份,注明来意。