本文首发于微信公众号「声学号角」
01
—
同轴扬声器
同轴扬声器种类很多。有两单元,低音配高音的,或者中音配高音的。也有三单元的,相对少点。
同轴扬声器的应用也很广泛。从消费类音箱,汽车音箱,专业音箱,耳机上都有应用。主要的优势在于不同单元的声中心可以尽可能接近,且相对来说,整个系统可以更为小巧。

关于声中心,可以参考以前的文章。
英国天朗(TANNOY)和KEF的同轴扬声器单元比较出名。



三单元同轴

02
—
专业同轴扬声器
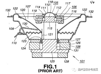
最简单的方式就是把低音和压缩高音直接塞到一起。高音放在低音磁路后面,再通过低音磁路中孔和纸盆作为号角传递声音。

这样很明显不够简练
03
—
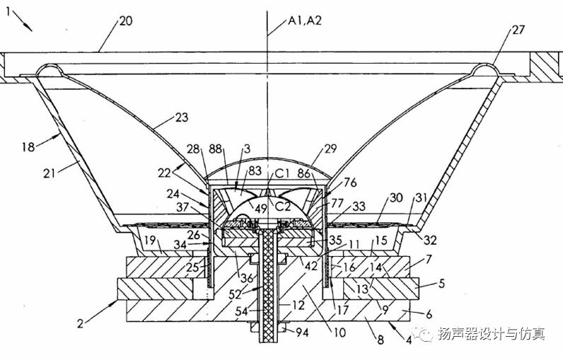
共用单磁铁专业同轴扬声器
共用单磁铁后,总的磁路零部件会减少,装配工序也会减少。
类似下图是比较经典的形状

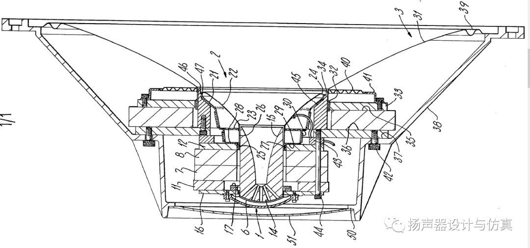
更清晰的方式可以看下图。这个是目前专业扬声器同轴的最主流的做法。相当于磁路分成两个磁间隙。

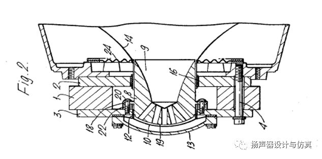
下面是BMS提出新磁路结构。在上面的形状中增加一个可以分配低音和高音磁间隙磁感应强度的结构。这样对高低音性能的设计和调配更灵活。
外铁氧体版

外钕铁硼版

内钕铁硼版

实物图


上面是我的个人微信,加我的时候请表明身份,注明来意。