本文首发于微信公众号「声学号角」
01
—
压缩高音简介
压缩高音之所以叫压缩高音(或者压缩驱动器),是因为对扬声器单元驱动的空气进行压缩,提升其输出声功率。
下图是简单的原理和结构说明。压缩比为Sd/St。

压缩高音有点类似功放,放大输入信号。设计上的问题(声波谐振,振膜分割振动等)或者物料和装配的公差也同样很容易成倍地反应到最终的频响和失真上。所以一款好的压缩高音对设计/物料/装配的要求比较高。
目前主要的两种压缩高音结构:
向后辐射球顶振膜压缩高音。
振膜材料以纯钛模或钛模+复合边为主。



向前辐射环状振膜压缩高音
振膜材料以PEN,Kapton等材料为主。





02
—
部分压缩高音专利
- EdwardWente, Bell Telephone Labs, 1929
- AlbertThuras, Bell Telephone Labs, 1929
凹铝膜片,励磁磁路,斜纹边


- LionelCornwell and William Woolf, 1934
内外绕音圈,斜纹边

LeeBostwick, Bell Telephone Labs, 1933
球顶膜片,励磁

- LeeBostwick, Bell Telephone Labs, 1933
同轴扬声器

- EdwardWente, Bell Telephone Labs, 1933
- AlbertThuras, Bell Telephone Labs, 1936
两侧辐射


EdwardWente, Bell Telephone Labs, 1936
非常接近现代的产品

SidneyLevy, 1958
铝镍钴磁铁

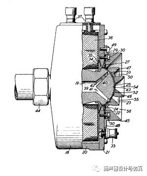
- MarshallBuck, Cerwin-Vega Inc., 1986
同轴

- JBL环形振膜 1955


- 径向相位塞



- AlanAdamson. 1990

- BernardWerner. JBL, 2006

- EugeneCzerwinski and Alex Voishvillo, Cerwin Vega, 2001

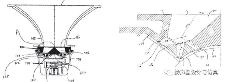
- Alex Voishvillo, JBL Pro
D2单元





