本文首发于微信公众号「声学号角」
01
—
号角和波导简介
常规号角

常规波导

号角和波导之间没有明确的界线。
号角和波导的主要作用:
1.通过增加声负载来提升效率
2.指向性和声压覆盖控制


号角波束宽度

02
—
号角早期理论研究
A.G.Webster, “Acoustical Impedance and the Theory of Horns and of the Phonograph”, Proc. Natl. Acad. Sci., No5, pp. 275 – 282, (1919)
C.R.Hanna, J. Slepian, “The Function and Design of Horns”, Trans. A.I.E.E., March1924, pp. 250 - 256
C.R.Hanna, “Theory of the Horn-Type Loud Speaker ”,J. Acoust. Soc. Am.,vol. 2, pp. 150 – 156, 1930, October.
V.Salmon, “Generalized Plane Wave Horn Equation”, J. Acoust. Soc. Am., vol.17, pp. 199 – 221, 1946, January.
O.Mavardi, “Generalized Solutions of Webster’s Horn Equation”, J. Acoust. Soc. Am.,vol. 21, pp. 323 – 330, 1949, July.
E.Eisner, “Complete Solution of “Webster” Horn Equation”,J. Acoust. Soc. Am., vol.41, pp. 1126 – 1146, 1967, April. ——被引用次数非常多
03
—
部分号角波导专利
P.W. Klipsh, 1940

P. W. Klipsh, 1951

Manta-Ray 恒指向性号角之一


M. H. Hirakate et.al., 1978

D. Keele, 1982

C. Heil, 1992

A. Adamson 2002

R. Lehman, 2002

E. Geddes, 2006 恒指向性号角之一

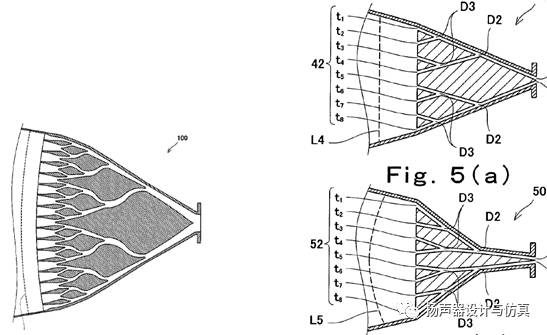
H. Kubota, 2006

D. Blore et. al., 2010

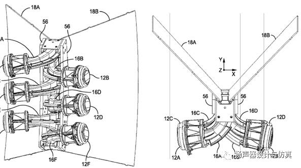
M. Adams, 2011

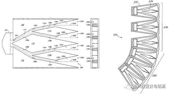
T. Danley, 2013

