本文首发于微信公众号「声学号角」
之前谈到了一种声场辐射的滤波器。
今天再介绍另一种思路。 其理论思路和上一种是一样的。都是增加了一个旁路的赫姆霍兹共鸣腔。 对消除前腔的谐振或者振膜分割振动都是有效的。
以下是Bose公司提出的一个专利。是用到号角类压缩高音上的。
原音箱模型:

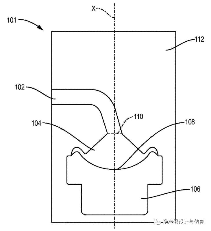
下图中在高音的折环部分增加了一个腔体。部件216是声阻部件。声阻可以由抵抗空气流材料,比如屏障类或泡沫类材料构成。部件214是附加的腔体,其尺寸根据需要修正的频率点来决定。

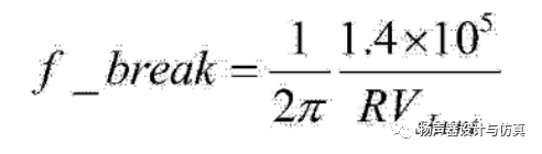
谐振拐点公式:

其中R是声阻值,V是腔体容积
下面是Bose公司做的一些实验数据:

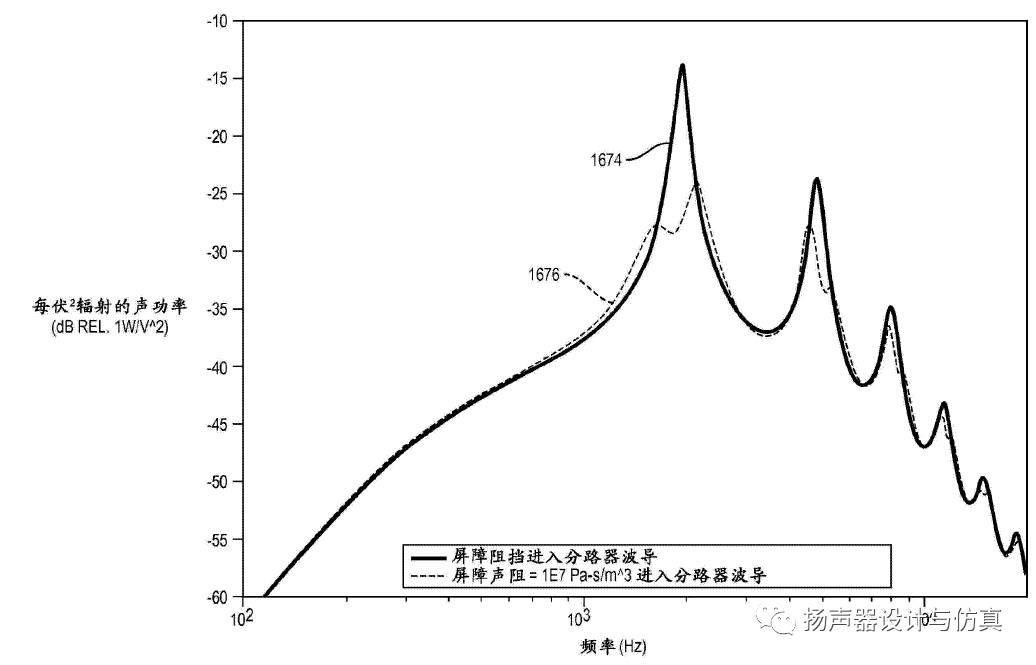
固定腔体容积,改变屏障声阻:

固定屏障声阻,改变腔体容积:

可以很明显看出,部件216的声阻值变化对辐射的频率响应影响很大
也可以采用无源辐射器


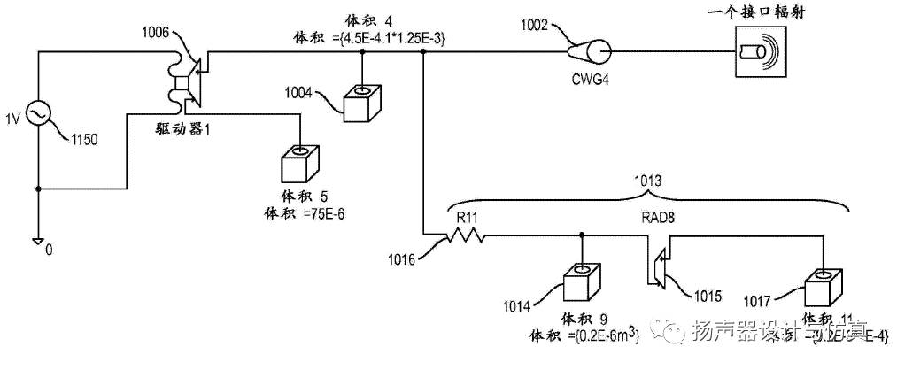
等效电路示意

实验数据

还有其他多种形式:



