本文首发于微信公众号「声学号角」
扬声器增加号角可以提高输出的效率,是一种常见的设计方案。
但有时振膜和号角之间的前腔会产生声波谐振,以及振膜各处到达出口出的声学路径不相等,会造成频响曲线起伏波动。需要增加相位塞以减少声谐振以及声学路径不相等的影响。
相位塞的设计有一些套路,或者说注意事项。
注意事项1:振膜和号角之间的间隙应尽可能小,在考虑振膜的位移以及部件和装配的公差情况下。
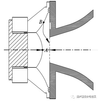
a.原设计

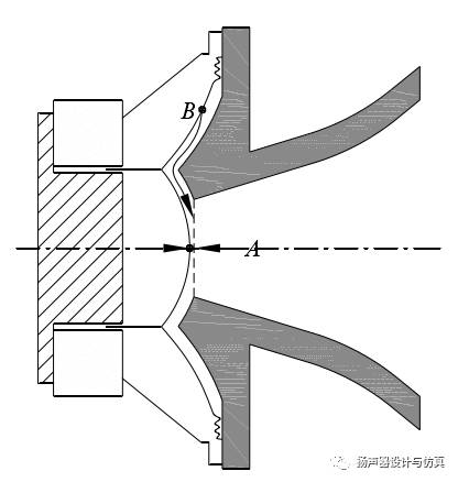
b.优化前腔

前腔在等效电路上相当于一个旁路电容,起到低通的效果。振膜和号角间距离越小,能输出的高频上限也就越高。
注意事项2:在号角喉口增加相位塞后,振膜各处到达出口出的声学路径差减小了很多。


注意事项3:有时需要设计多个通道的相位塞。
一般来说,障碍尺寸最好小于最高频率波长的一半,否则声波之间会产生不必要的干涉。声速按340m/s,那么20kHz声波波长为17mm,波长一半为8.5mm。一般尽可能做到10mm以下。

专业压缩高音的相位塞和振膜压缩比比较大,对于其相位塞设计考虑的东西就需要更细致。
一般来说需要深入的理论计算结合声场有限元的分析才能够得到比较理想的频率响应。
可参考:
另外,还有一种模态抑制的方法。通过调整相位塞通道的位置和宽度,来避免前腔的谐振。数学计算上比较复杂。